Was Newton Wrong About Gravity?
After standing strong for more than 300 years, Newton’s law of universal gravitation might need an update.
Newton published the law of universal gravitation in his 1687 Naturalis Principia Mathematica, and it quickly became one of the most important stones on which physics is built. It explains just about everything we can see, from the flight of a ball through the air to the movement of planets. However, some modern physicists have a good reason to question it.
It’s a simple equation. The gravitational force (F) between two masses (m1 and m2) is calculated by their product divided by the square of the distance between them (r) and multiplied by the gravitational constant (G). This means that the gravitational force changes according to the objects’ masses and is heavily dependent on the distance between the objects, according to the inverse square law. When Newton published this equation, although the basics were already known, it was revered as revolutionary. We still use it today, as it is central to classical dynamics.
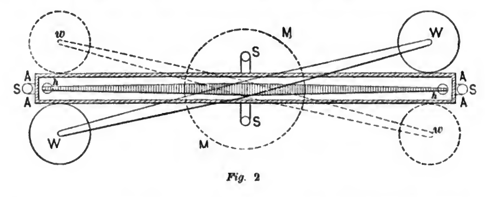
While Newton’s equation proved mathematically useful out of the gate, it was not until 1798 that it was demonstrated in the laboratory by Henry Cavendish. His now famous, highly-precise experiment consisted of two small balls (h) on the end of a wooden rod suspended by a wire. Two larger balls (W) were placed on opposite ends and on opposite sides. As expected, the two smaller balls were attracted towards the larger balls, causing the rod to rotate. Not only did this experiment prove Newton correct, the results were later used to calculate the gravitational constant (G), the Earth’s mass, and even its density.
However, Newton himself had a problem with his law of universal gravitation. He couldn’t explain the mechanism. He reasoned that some invisible force must be instantaneously acting on the two objects, an idea that violated the understanding of the universe at the time. In a 1692 letter to his friend Bently he wrote, “That one body may act upon another at a distance through a vacuum without the mediation of anything else, by and through which their action and force may be conveyed from one another, is to me so great an absurdity that, I believe, no man who has in philosophic matters a competent faculty of thinking could ever fall into it.”
Einstein provided the answer in 1915. His General Relativity demonstrated that gravity is not actually a force acting between two objects but rather a result of curved 4D spacetime. That is, the three spatial dimensions and the time dimension curve according to the presence of matter or radiation. So, when objects are attracted to each other, they are not being pulled towards one another. Instead, they are reacting to how the other warped the fabric of the universe. Had Newton been alive when Einstein published his ideas, he would’ve had the answer he was looking for.
But this doesn’t prove Newton wrong. Einstein’s equations show that Newton’s is only a special case. The equations of Relativity only become relevant with massive objects and when speed increases to significant fractions of the speed of light. For slow speeds and small objects, like the ones we deal with in our everyday lives, Newton’s equations work just fine. But when dealing with massive objects-like galaxies, blackholes, or the universe as a whole-or with fast moving particles-like muons or neutrinos-Newton’s equations are no longer sufficient and Einstein’s far more complex equations become more accurate. In fact, if you reduce the values for velocity and mass in Einstein’s equations, they eventually collapse into Newton’s.
Today, modern cosmology is based on Newton and Einstein’s understanding of gravity, but some physicists have a problem. When they look at the velocity of stars in spiral galaxies, Newton and Einstein aren’t enough. One possible solution to the riddle is that these galaxies must have a lot of unseen mass, leading to the idea of dark matter. While we don’t know what dark matter is, it solves more problems than just the unexplained velocity of stars, leading many to assume that dark matter permeates the universe, composing some 85% of it’s matter.
But there’s a problem with dark matter. Though it seemingly is the solution to numerous cosmological riddles, some studies have failed to show it exists. For example, a team from the University of Bonn and the University of Saint Andrews examined how dwarf galaxies in the Fornax Cluster were perturbed by nearby larger galaxies. If dark matter exists, then the dwarf galaxies would have a halo of it surrounding them, protecting them from the gravitational influence of their larger neighbors. However, the team saw this wasn’t the case, in that the dwarf galaxies were warped and stretched. This result, as well as the results of a few other studies, has thrown the idea of dark matter into question.
If we assume dark matter doesn’t exist, then the leading explanation is Modified Newtonian dynamics (MOND). Like the name suggests, MOND tweaks Newton’s law of universal gravitation, most importantly by not calculating the gravitational force by squaring the distance between objects. Instead, MOND assumes the gravitational force changes linearly in regards to (r). Such an idea has already been fruitful. In fact, the scientists looking at dwarf galaxies in the Fornax Cluster also compared their observations with the predictions derived with MOND, and they found that they match nearly exactly. A handful of other studies relied on MOND, and the results have been rather promising, though MOND fails in other areas.
The theoretical basis for MOND comes from Entropic gravity. This states that gravity is not one of the fundamental forces of the universe. Rather, it emerges from the quantum entanglement of tiny bits of information encoded in spacetime. While this idea is difficult to wrap our brains around, the math produces some interesting results, most importantly a gravitational acceleration threshold of 1.2×10 −10m/s^2. This means that when gravity becomes extremely weak it doesn’t follow the inverse square law, behaving linearly instead, in accordance with MOND.
Therefore, Newton’s law of universal gravitation might not be so universal. If dark matter doesn’t exist, which is still a hotly debated topic in modern physics, then we are going to need to tweak Newton’s equation after standing strong for over 300 years. The leading candidate at the moment is MOND. If this is true, then Newton’s equations might be relegated yet again to a special case.
Originally published at http://thehappyneuron.com on August 18, 2022.


